10月14日,澎湃新聞記者獲悉,宏勝飲料集團有限公司內部系統中,嚴學峰、祝麗丹崗位顯示“待定”。有消息稱,上述兩人已申請離職。澎湃新聞記者撥打嚴學峰、祝麗丹兩人電話,電話均未接聽。
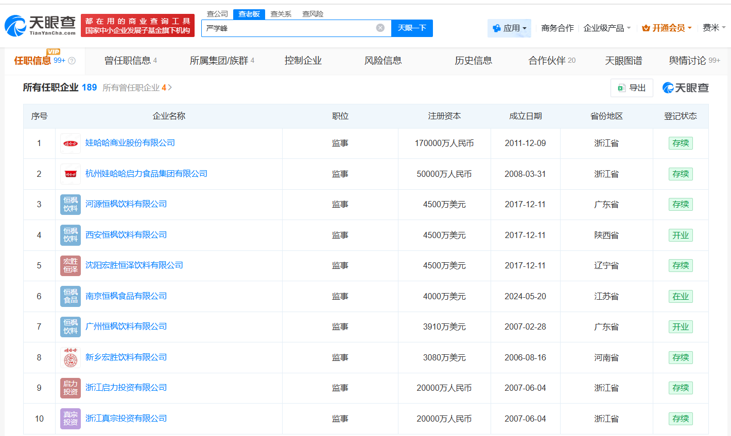
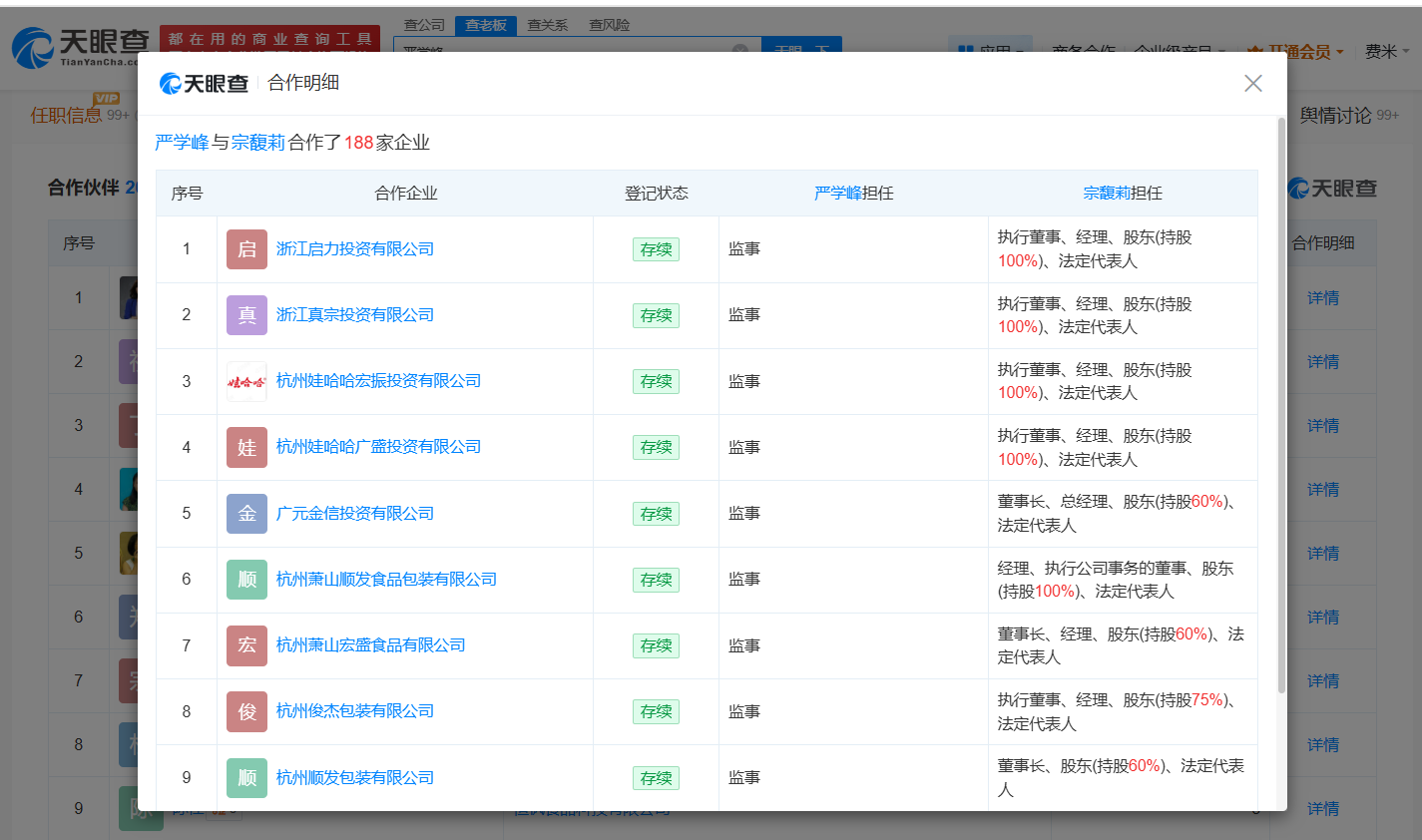
天眼查App顯示,嚴學峰名下關聯近190家企業,其中180余家處于存續狀態,包括娃哈哈商業股份有限公司、河源恒楓飲料有限公司、浙江迅爾城通貨運有限公司等。值得一提的是,嚴學峰名下關聯近百家娃哈哈企業,包括杭州娃哈哈啟力食品集團有限公司、杭州娃哈哈樂維食品有限公司等,嚴學峰在上述公司擔任監事。合作伙伴信息顯示,嚴學峰與宗馥莉共同關聯188家企業,包括浙江啟力投資有限公司、浙江真宗投資有限公司等。
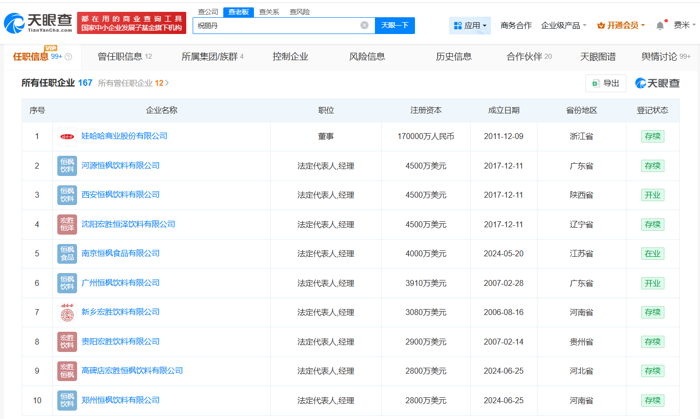
祝麗丹名下關聯160余家存續企業,包括娃哈哈商業股份有限公司、河源恒楓飲料有限公司、西安恒楓飲料有限公司等,值得一提的是,祝麗丹名下關聯近百家娃哈哈企業,包括杭州娃哈哈樂維食品有限公司、杭州娃哈哈非常可樂飲料有限公司等,祝麗丹在上述公司擔任法定代表人、經理。合作伙伴信息顯示,祝麗丹與宗馥莉共同關聯150余家企業,包括杭州順發包裝有限公司、南寧宏勝食品有限公司等。
























