天眼查天眼風險信息顯示,近日,合寶文娛集團有限公司新增1條失信被執行人信息,履行情況為全部未履行,具體情形為違反財產報告制度,執行法院為廣州市海珠區人民法院。案件流程信息顯示,此前,該公司已因此案被執行9801元,并被限制高消費。
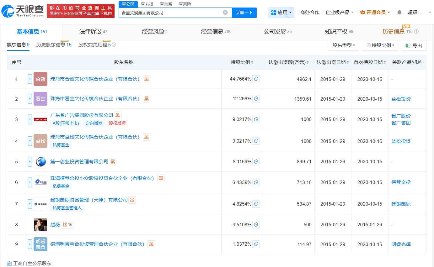
該公司成立于2015年1月,法定代表人為趙智,注冊資本約1.1億人民幣,經營范圍包括廣播電視節目制作經營、電影發行、演出經紀等,由珠海市合智文化傳媒合伙企業(有限合伙)、珠海市看寶文化傳媒合伙企業(有限合伙)、趙薇等共同持股,其中趙薇持股約4.5%。



天眼查天眼風險信息顯示,近日,合寶文娛集團有限公司新增1條失信被執行人信息,履行情況為全部未履行,具體情形為違反財產報告制度,執行法院為廣州市海珠區人民法院。案件流程信息顯示,此前,該公司已因此案被執行9801元,并被限制高消費。
該公司成立于2015年1月,法定代表人為趙智,注冊資本約1.1億人民幣,經營范圍包括廣播電視節目制作經營、電影發行、演出經紀等,由珠海市合智文化傳媒合伙企業(有限合伙)、珠海市看寶文化傳媒合伙企業(有限合伙)、趙薇等共同持股,其中趙薇持股約4.5%。


