據報道,近日,網傳“某女編劇自稱曾襲警后通過關系被放行”,上海警方就此事發布警情通報。
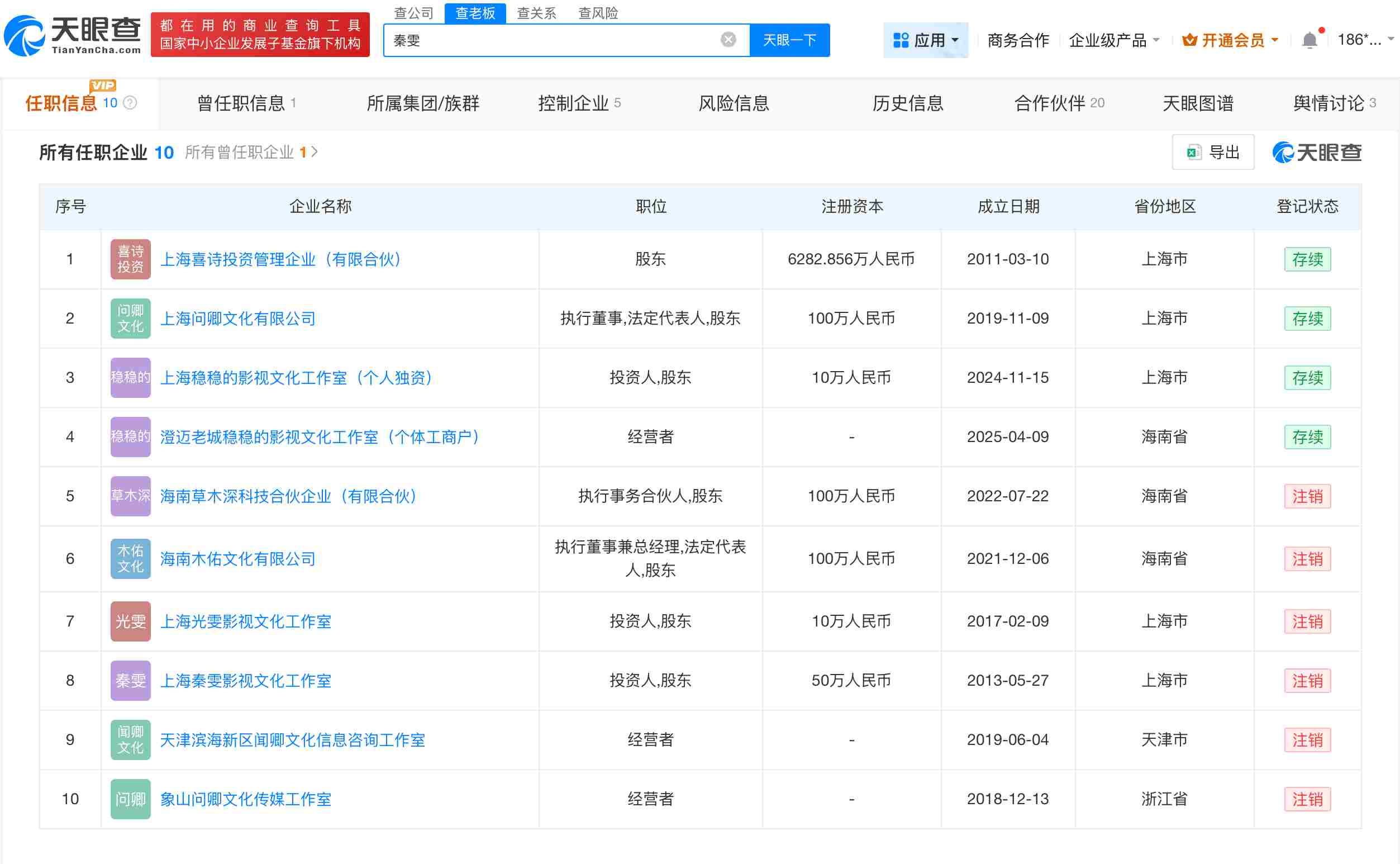
天眼查App顯示,秦雯名下共關聯10家企業,其中4家為存續狀態,包括上海穩穩的影視文化工作室(個人獨資)、澄邁老城穩穩的影視文化工作室(個體工商戶)等,涉及投資管理、影視文化等領域,秦雯在上述公司擔任執行董事、法定代表人等職務。值得注意的是,今年9月,秦雯與丈夫王光利共同出資的海南草木深科技合伙企業(有限合伙)已注銷。


據報道,近日,網傳“某女編劇自稱曾襲警后通過關系被放行”,上海警方就此事發布警情通報。
天眼查App顯示,秦雯名下共關聯10家企業,其中4家為存續狀態,包括上海穩穩的影視文化工作室(個人獨資)、澄邁老城穩穩的影視文化工作室(個體工商戶)等,涉及投資管理、影視文化等領域,秦雯在上述公司擔任執行董事、法定代表人等職務。值得注意的是,今年9月,秦雯與丈夫王光利共同出資的海南草木深科技合伙企業(有限合伙)已注銷。

