10月24日,鄧莎代發聲明,稱因個人原因,路行即日起退出《再見愛人》節目。
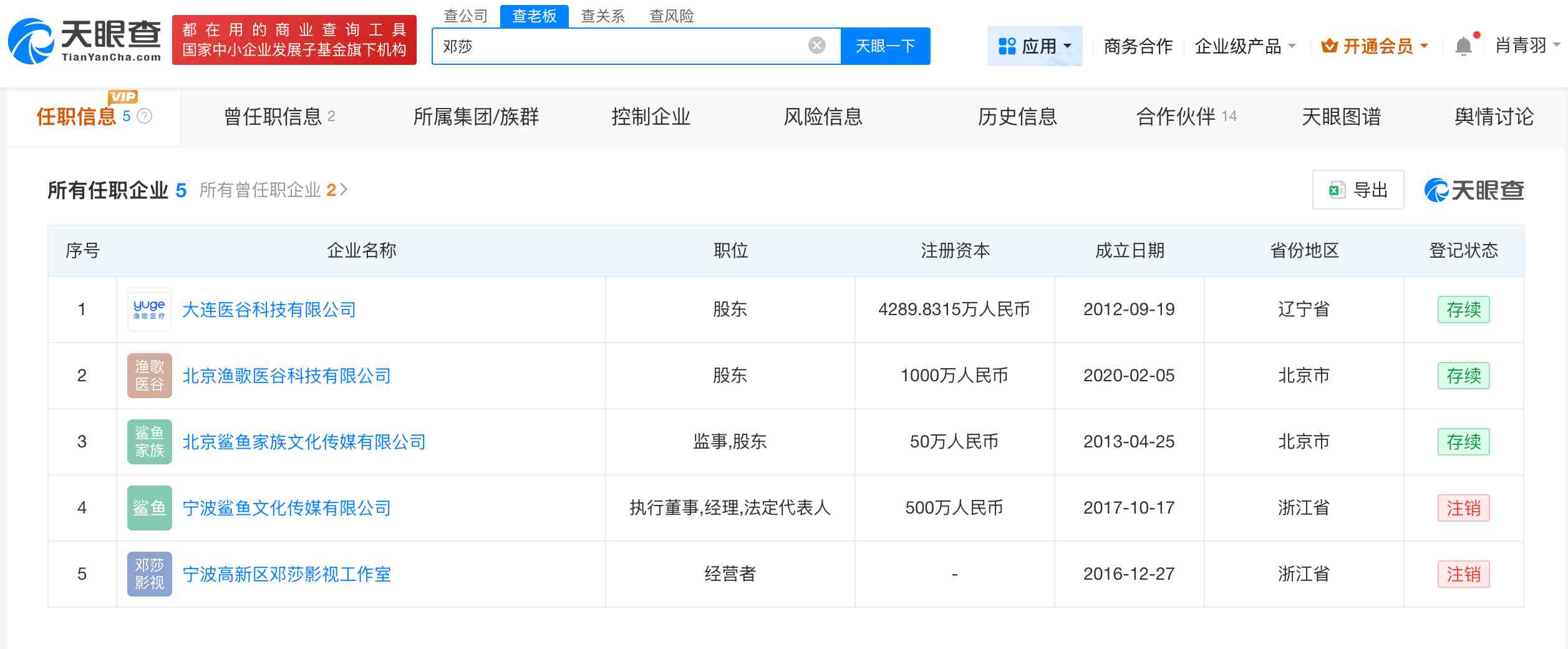
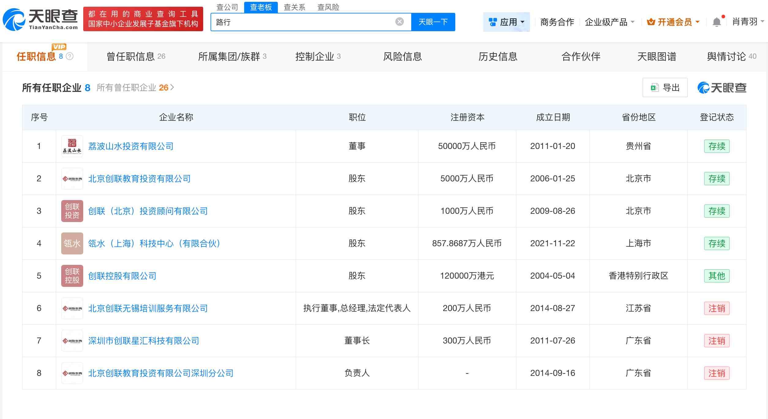
天眼查App顯示,路行名下共關聯8家企業,其中5家為存續狀態,包括荔波山水投資有限公司、北京創聯教育投資有限公司等,路行在上述公司擔任董事或持有股份;鄧莎名下關聯5家公司,其中3家為存續狀態,包括大連醫谷科技有限公司、北京漁歌醫谷科技有限公司等。值得注意的是,路行鄧莎曾共同關聯創聯(北京)投資顧問有限公司,今年4月鄧莎退出該公司,退出前持股1%。目前該公司由路行全資持股,兩人已無共同關聯公司。



10月24日,鄧莎代發聲明,稱因個人原因,路行即日起退出《再見愛人》節目。
天眼查App顯示,路行名下共關聯8家企業,其中5家為存續狀態,包括荔波山水投資有限公司、北京創聯教育投資有限公司等,路行在上述公司擔任董事或持有股份;鄧莎名下關聯5家公司,其中3家為存續狀態,包括大連醫谷科技有限公司、北京漁歌醫谷科技有限公司等。值得注意的是,路行鄧莎曾共同關聯創聯(北京)投資顧問有限公司,今年4月鄧莎退出該公司,退出前持股1%。目前該公司由路行全資持股,兩人已無共同關聯公司。


