天眼查工商信息顯示,近日,蘇州信托有限公司發生工商變更,注冊資本由12億人民幣增至30億人民幣,增幅150%。
該公司成立于2002年9月,法定代表人為沈光俊,經營范圍包括資金信托、動產信托、不動產信托、有價證券信托等業務。股東信息顯示,該公司由蘇州國際發展集團有限公司、蘇州文化旅游發展集團有限公司、蘇州市農業發展集團有限公司共同持股。



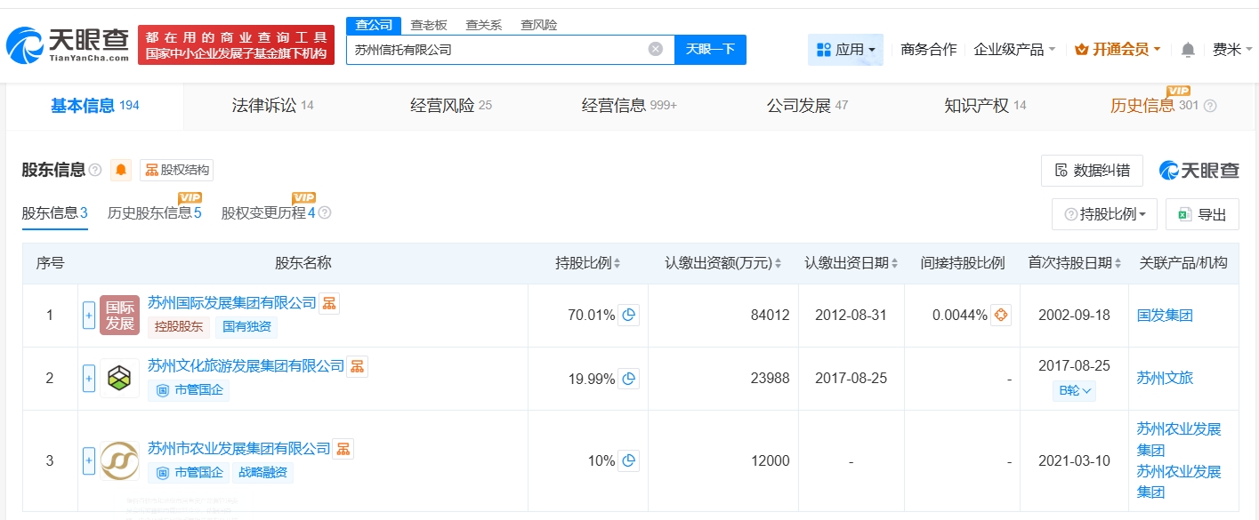
天眼查工商信息顯示,近日,蘇州信托有限公司發生工商變更,注冊資本由12億人民幣增至30億人民幣,增幅150%。
該公司成立于2002年9月,法定代表人為沈光俊,經營范圍包括資金信托、動產信托、不動產信托、有價證券信托等業務。股東信息顯示,該公司由蘇州國際發展集團有限公司、蘇州文化旅游發展集團有限公司、蘇州市農業發展集團有限公司共同持股。


